Overview
Constant springs are used to support piping whose movements and/or loading conditions cause too great a variability or too high of a loading condition for a variable spring.
The geometric design of the constant support provides a mathematically constant amount of force exerted throughout the entire range of travel. The force is made constant by a counterbalancing spring assembly.
For an upgraded alternative to the traditional constant spring supports, see our Rilco Cam Roller Constants.
View our Variable & Constant Spring Catalog for complete specs.
RCS-80V Vertical Constant Chart
| Drawing | Rilco Type/Grinnell Equivalent | Description |
|---|---|---|
![]() |
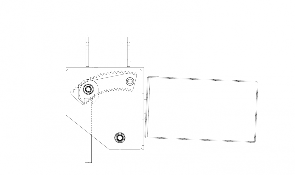
A/A | The Rilco RCS-80V "Type A" is specially fabricated for mounting on a supporting member by means of attaching a rod into the tapped hole in the constant supports' top cap. |
![]() |
B/B | The Rilco RCS-80V "Type B" is manufactured with one lug to accommodate attachment to building structure and allow for the use of various types of attachments. |
![]() |
C/C | The Rilco RCS-80V "Type C" is manufactured using two (2) lugs to accommodate attachment to the building structure and allowing for the use of various types of attachments. |
![]() |
D/D | The Rilco RCS-80V "Type D" is designed to lay on top of the beams or structural steel rather than attaching to the structures like the other "Constant Supports". |
![]() |
E/E | The Rilco RCS-80V "Type E" is the same as the RCS-80V "Type D" except that "Type E" is designed with two (2) brackets that comprise its frame thereby allowing it to rest on the top flange of the structural member. |
![]() |
G/G | The RCS-80V "Type G" is manufactured using opposing constants and a pair of channels welded back-to-back, to form a trapeze assembly. This Rilco system is designed for use when a pipe is not to be centered on the constant support so that one spring of the trapeze carries a heavier load than the other. |
RCS-81H Horizontal Constant Chart
| Drawing | Rilco Type/Grinnell Equivalent | Description |
|---|---|---|
![]() |
A/A | The Rilco RCS-81H "Type A" is specially designed for mounting on a supporting member by means of attaching two rods into the tapped holes in the constant supportÕs top cap. |
![]() |
B/B | The Rilco RCS-81H "Type B" is manufactured with two lugs to accommodate attachment to the building structure and allowing for the use of various types of attachments. |
![]() |
C/C | The Rilco RCS-81H "Type C" is manufactured using two (2) lugs to accommodate attachment to the building structure and allowing for the use of various types of attachments. |
![]() |
D/D | The Rilco RCS-81H "Type D" is designed to be attached directly under that steel support member. |
![]() |
E/E | The Rilco RCS-81H "Type E" is similar to the RCS-81H "Type D" except that "Type E" is designed with two (2) brackets welded to the support casing forming a frame which allows the unit to be attached to the top of the structural support. |
![]() |
F/F | The Rilco RCS-81H "Type F Upthrust" is specifically designed to support pipes or equipment from below and is supplied with a base to anchor it to the floor. |
Design Features of Rilco Constant Supports & Hangers
- High load and travel capabilities
- Each hanger is calibrated independently to the client’s specific load prior to shipment
- Load is adjustable +/- 10% from the “as shipped” load
- Spring covers which prevent foreign objects from restricing the action of the coil spring & provide a clean, functional appearance
- Stainless steel shafts to ensure each unit will not seize due to corrosion
- Upper and lower limit built-in travel stops that restrict travel and prevent damage to the supports
Support Types
- Horizontal
- Upthrust
- Vertical

























