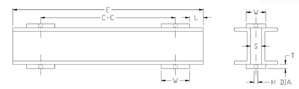
Channel Assembly

Hardware>Steel Brackets>Part #440                                                                     Download PDFDownload Part #440 Data Sheet

Part #440
Channel Assembly

channel assembly                                      channel assembly drawing                                                                                   

Material: Channel - Carbon Steel (ASTM A36)
Washer Plate - Carbon Steel (ASTM A36 or A515 GR 65-70)
Finish: Black, Galvanized, or coated to customer specifications
Ordering: Specify part number 440 Channel Assembly, channel size, rod size, c-c dimension.

Request a Quote!